Řízení čerpadla
Řízení čerpadla
Ahoj. Mám čerpadlo JEBAO s vlastní řídící jednotkou. Potřeboval bych to čerpadlo ovládat Arduinem. Jako nejjednodušší se nabízí napojit se na tlačítka a ty "spínat" pomocí relátek. Měřením jsem zjistil, že na jedné straně tlačítka je 5V a druhá strana je spojena s GND. To by znamenalo, že stisknutím tlačítka to jde do zkratu a řídící jednotka reaguje na logickou nulu. Chápu to správně? Pokud ano, jsem schopný mu tu logickou nulu udělat Arduinem bez relé? Kdyby reagovala na logickou 1, tak výstup z Arduina napojím místo tlačítka a pak na ten výstup budu posílat logickou jedničku. Ale pokud to je naopak, tak jak?
Re: Řízení čerpadla
Pokud to funguje s rozumnými proudy, které Arduino zvládne (a tak nějak je to celkové příčetné),
tak bys mu prostě posílal logickou nulu místo logické jedničky.
(U Arduina se taky často dělají tlačítka co stisknutím zkratují proti zemi, protože si tam nastavíš vnitřní pullup a ono to chodí samo s minimem součástek - a teda s s náchylností na rušení a zákmity, ale pokud mluvíme o Arduinu, nikoli AVR, ESP, ... tak tam se to neřeší, když je něco občas blbě, tak je to podle tvůrců takové lidštější ... http://micro-corner.gilhad.cz/blog/Ardu ... _hrdi.html )
tak bys mu prostě posílal logickou nulu místo logické jedničky.
(U Arduina se taky často dělají tlačítka co stisknutím zkratují proti zemi, protože si tam nastavíš vnitřní pullup a ono to chodí samo s minimem součástek - a teda s s náchylností na rušení a zákmity, ale pokud mluvíme o Arduinu, nikoli AVR, ESP, ... tak tam se to neřeší, když je něco občas blbě, tak je to podle tvůrců takové lidštější ... http://micro-corner.gilhad.cz/blog/Ardu ... _hrdi.html )
Re: Řízení čerpadla
Pokud si ovšem chceš ušetřit problémy, pak opravdu rozumné a solidní řešení je s optočlenem.
Jen je třeba si uvědomit, že tento optočlen dělá vlastně negaci signálu z Arduina. Ale to problém pochopitelně není.
https://www.gme.cz/v/1491205/sharp-pc817x3nszw-optoclen
Jen je třeba si uvědomit, že tento optočlen dělá vlastně negaci signálu z Arduina. Ale to problém pochopitelně není.
https://www.gme.cz/v/1491205/sharp-pc817x3nszw-optoclen
Re: Řízení čerpadla
Ještě doplním,že řešení s optočlenem je i laciné a proudově nenáročné. Ale především nebudou žádné potenciálové problémy, žádné napěťové špičky nebo rušení nebezpečné pro Arduino. Proti řešení s relé je to naprosto bezkonkurenční v kvalitě i jednoduchosti. Spousta profi systémů, řadiče krokových motorů i mnohá čerpadla často mají už na své vstupní straně vloženy optočleny.
Re: Řízení čerpadla
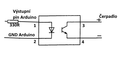
To řešení s logickou nulou funguje. Ale to řešení s optočlenem samozřejmě bude lepší. Můžeš mi s tím trochu pomoci? Potřebuji to pro ESP32, takže vstupní napětí bude 3.3V. Jaký optočlen by ch měl použít? Můžu využít tento - MOC3051? Mám jich pár doma... Tohle řešení mi umožní udělat malý plošnák a ten dát do krabičky ovládání čerpadla a pak jen přivést signál z ESP32.
Re: Řízení čerpadla
Teď jsem si všimnul, že jsi pod obrázek dal odkaz na ten optočlen...
Předpokládám, že u toho ESPčka musím ten odpor snížit....
Re: Řízení čerpadla
MOC3051 použít nemůžeš, protože to je optotriac.
Pro ESP8266 nebo ESP32 je vhodné použít rezistor třeba 220ohmů. Ve skutečnosti se do těchto úvah promítá přenos optočlenu a další aspekty, ale 330R respektive 220R nepochybně vyhoví.
Pro ESP8266 nebo ESP32 je vhodné použít rezistor třeba 220ohmů. Ve skutečnosti se do těchto úvah promítá přenos optočlenu a další aspekty, ale 330R respektive 220R nepochybně vyhoví.
Re: Řízení čerpadla
OK, díky za odpověď, koupím ty co jsi tu dal.
. Co máš na mysli tou negací? Znamená to, že když na pin 1 optočlenu přivedu logickou jedničku, tak piny 3 a 4 budou "rozpojeny"?
Re: Řízení čerpadla
Ne, naopak. Když na fotodiodu 1-2 přivedeš logickou jedničku, tak výstupní tranzistor 3-4 bude seplý a může simulovat stisk tlačítka. Z hlediska běžné a především OC logiky se to však dá považovat za negaci logického signálu i když se ti to třeba nezdá.
Kdo je online
Uživatelé prohlížející si toto fórum: Žádní registrovaní uživatelé a 1 host